
به گزارش جام جم آنلاین و به نقل از زومیت، اپل در این ساعت از مجموعه نرمافزار و حسگرهایی استفاده کرد که باعث محبوبیت بسیار بالای آن شد و اپل واچ اکنون پرفروشترین ساعت هوشمند بازار محسوب میشود. اپل چندی پیش ششمین نسل ساعت هوشمند فوقالعاده محبوب خود را با طراحی آشنا معرفی و روانهی بازار کرد. کوپرتینوییها با حفظ اِلمانهای طراحی گذشته و اضافه کردن ویژگیهای جدید، اپل واچ را به یک ابزار سلامتیمحور کوچک تبدیل کردهاند.
مشکل اصلی ساعت هوشمند اپل عمر باتری نهچندان بالای آن است. بدنهی بسیار باریک اپل واچ و استفاده از موتور هپتیک، جای دادن باتری بزرگتر درون دستگاه را تقریبا غیر ممکن کرده است. اما اپل در اختراع جدیدش راه حلی برای افزایش ظرفیت باتری ارائه میدهد که میتواند اصلیترین نقطه ضعف اپل واچ را برطرف کند. اپل در حال تحقیق برای بهبود عمر باتری اپل واچ ازطریق افزودن باتریهای کوچکی به بند ساعت و آزمایش یک بند پارچهای با توانایی مدیریت قابلیتهای مختلف ردیابی تناسب اندام است.

بر اساس اختراع ثبتشده، میتوان با قرار دادن برخی اجزا در خارج از بدنهی اصلی اپل واچ و استفاده از فضای خالی بند، محدودیت ظرفیت باتری را برطرف کرد. این عناصر در حال حاضر به بند ساعت اپل متصل نیستند و فقط برای اتصال دستگاه به مچ دست کاربران استفاده میشوند؛ اما اپل تصور میکند این اجزای بند پتانسیل ارائه دادن قابلیتهای دیگری نیز دارند. دو اختراع جدید اپل که روز سهشنبه در اداره ثبت اختراعات و علائم تجاری ایالات متحده ثبت شدند ، اهداف اپل شامل افزایش عمر باتری و افزودن حسگرهای بیشتر را نشان میدهند.

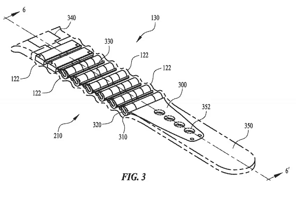
اولین اختراع ثبتشده با عنوان «بند باتریدار ساعت» بسیار مکانیزم سادهای دارد. درواقع این اختراع یک بند متصل به ساعت را نشان میدهد که میتواند چندین باتری را در خود جای دهد. به باور اپل، بند میتواند حاوی چندین سلول باتری باشد که به موازات یکدیگر قرار دارند و استفاده از چندین باتری درکنار هم، باعث جلوگیری از خستگی فیزیکی باتریها میشود و میتواند منعطف باشد. این بند دارای یک محفظهی داخلی با تعدادی شکاف و پوشش خارجی برای نگهداری و محافظت از باتریها است. هر یک از باتریها از نظر فیزیکی از بقیه جدا است که بهطور بالقوه، امکان تعویض و تعمیر سادهتر آن را فراهم میکند. هر یک از باتریها ازطریق پینهای داخل کانکتور به اپل واچ متصل میشود و برای شارژ مجدد، از سیمپیچیهای القایی دور هر باتری استفاده میشود.
توضیحات یادشده مربوط به بند ساعت انعطافپذیر معمولی از جنس لاستیک، سیلیکون یا سایر مواد مشابه است؛ اما اپل پیشنهاد میکند همین شیوه را میتوان با بند ساعت فلزی انجام داد. در این حالت خاص، باتریها در پیوندهای جداگانهای از جنس الاستومر نگهداری و محصور میشوند. الاستومر، پلیمری با قابلیت گرانروی و کشسانی زیاد است. این اختراع در ۱۸ سپتامبر ۲۰۱۷ (۲۸ شهریور ۱۳۹۶) به ثبت رسید.

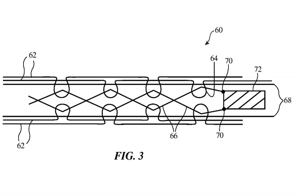
اپل در اختراع دوم با عنوان «اقلام مبتنی بر پارچه با نوارهای قابل انعطاف»، توضیح میدهد چگونه میتوان یک بند ساعت را از پارچه قابل انعطاف تهیه و حسگرهایی برای انجام کارهای مختلف درون آن تعبیه کرد که آسیبی به مدارها و حسگرها وارد نشود.
با توجه به اینکه حق بهرهبرداری از این اختراع برای اپل واچ به ثبت رسیده است، بهطور کلی برای استفادهی روی مچ دست در نظر گرفته میشود؛ اما امکان استفاده در سایر نواحی بدن را هم فراهم کند و ممکن است در محصولات دیگری استفاده شود. این بند از یک نوار حلقهای از پارچهی منعطف ساخته شده است و میتواند شامل رشتههای رسانا و مدارهای دیگر باشد که اجازه میدهد به انواع مختلفی از حسگرها و سایر اجزاء متصل شود. این بند و اختراع میتواند شامل حسگرهایی برای بررسی بدن کاربر باشد؛ مانند حسگرهای ضربان قلب، فشار خون، تنفس، دما و سایر موارد. بند جدید با توجه به خاصیت کشسانیاش میتواند برای طیف گستردهای از کاربران به گزینهای ایدهآل تبدیل شود و چون حسگرها را در نزدیکی سطح بدن نگه میدارد، امکان اندازهگیری دقیقتر فراهم میکند. انتظار میرود پارچهی استفادهشده در این بند تا دمای نسبتا بالایی دوام بیاورد؛ در این صورت برای ذخیرهسازی انرژی میتوان از ابرخازن بهجای باتری استفاده کرد و با استفاده از رشتههای تقویتکننده و رشتههای رسانا در مسیرهای پیچدرپیچ، حالت کشسانی را بدون آسیب رساندن به مدار ایجاد کرد. شارژ بیسیم ازطریق تشکیل یک سیمپیچ از رشتههای رسانا درون بند انجام میشود و برای برقراری ارتباط بند با اپل واچ و سایر سختافزارها، ممکن است از مدار ارتباطی بیسیم استفاده شود. این اختراع در ۲۴ سپتامبر ۲۰۱۸ (۷ مهر ۱۳۹۷) به ثبت رسید.
اپل بهصورت هفتگی اختراعات بیشماری ثبت میکند. ثبت اختراع نشاندهندهی موضوعات مورد علاقه تحقیق و توسعه شرکتها است؛ اما تضمینکنندهی ارائه آن در محصول یا خدمات نیست.
در یادداشتی اختصاصی برای جام جم آنلاین مطرح شد
در یادداشتی اختصاصی برای جام جم آنلاین مطرح شد
عضو دفتر حفظ و نشر آثار رهبر انقلاب در گفتگو با جام جم آنلاین مطرح کرد
سفیر کشورمان در عشقآباد در گفتوگو با «جامجم» ابعاد مختلف سفر رئیسجمهور به ترکمنستان و قزاقستان را تشریح کرد
همزمان با موافقت معاون رئیسجمهور با اهدای عضو ۲ فرزندش،در گفتوگو با دکتر امید قبادی، نایبرئیس انجمن اهدای عضو ایرانیان، چالشهای این حوزه را بررسی کردیم
بررسی شرایط تیم ملی فوتبال ایران در جام جهانی از زبان اسماعیل حلالی