
به گزارش جام جم آنلاین و به نقل از دیجیاتو، اطلاعات این پتنت جدید اپل چندین روز پیش منتشر شده و عنوان «دستگاههای الکترونیکی با نمایشگر گسترشپذیر انعطافپذیر» را یدک میکشد. اپل در گذشته طراحیهای مخصوصی را برای آیفون تاشو به ثبت رسانده و پتنت جدید دوباره احتمال رونمایی از این گوشی منحصر به فرد را مطرح میکند.
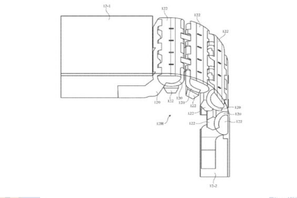
در پتنت جدید اپل روی ساختار لولا تمرکز کرده است. در این لولا شاهد ساختار با چندین پیوند هستیم، بنابراین در آن از یک مکانیزم استفاده نشده و ساختارهای پیچیدهای در آن به چشم میخورند.
در این پتنت عنوان شده که ساختار لولا میتواند شامل دنده، تسمه و سایر ساختارهای هماهنگکننده حرکت باشد. علاوه بر این شاید این لولا دارای قطعاتی برای حرکت متناسب با یکدیگر هم باشد.

این لولا همچنین میتواند دارای میله و پیوندهایی با سطح تحمل منحنی مخالف باشد. اپل در این ساختار جدید از سطوح توقف هم استفاده میکند که از چرخش بیش از حد میلهها و پیوندها با یکدیگر جلوگیری خواهند کرد. این پیوندها حتی شاید بتوانند اطراف یک نقطه محوری درون نمایشگر و جدا از ساختار لولا چرخش کنند.
این پتنت میتواند مربوط به نوعی آیفون با نمایشگر گسترشپذیر یا کشویی باشد، چرا که در توضیح آن نوشته شده که این لولا میتواند از حرکتهای تاشو، کشویی، اسکرول و مواد دیگر پشتیبانی کند. شاید اپل در آینده از یک آیفون کامپکت با امکان گسترش ابعاد نمایشگر رونمایی کند، البته در حال حاضر نمیتوان درباره آن اظهارنظر دقیقی کرد.
امسال شاهد رونمایی از چندین گوشی انعطافپذیر و حتی رولشونده بودیم. اوپو گوشی مفهومی اوپو ایکس ۲۰۲۱ را با نمایشگر رولشونده معرفی کرد و سامسونگ گوشی گلکسی زد فولد ۲ را روانه بازار کرد. این احتمال وجود دارد که سال ۲۰۲۲ اپل به جمع چنین شرکتهایی اضافه شود.
در یادداشتی اختصاصی برای جام جم آنلاین مطرح شد
در یادداشتی اختصاصی برای جام جم آنلاین مطرح شد
عضو دفتر حفظ و نشر آثار رهبر انقلاب در گفتگو با جام جم آنلاین مطرح کرد
کاظم اولیایی در گفتوگو با جامجم از رفتارهای خارج از ادب و فرهنگ بعضی فوتبالیستها انتقاد کرد
امیدعلی مسعودی معقتد است در سنت شیعی، گریه یکی از ابزارهای مهم انتقال معنا و حفظ هویت دینی بوده است
در گفتوگو با رئیس مرکز مدیریت بیماریهای واگیر وزارت بهداشت بررسی شد